Válvula de retención de tipo oscilante PVC-U H44F-10U DN15-300 1/2"-12" Estándar ANSI

Válvula de retención oscilante PVC-U de precio competitivo Estilo oblea DN15–DN300 Válvula de plástico para drenaje e industria química Estándar ANSI
Origen: China
Marca: KXPV
Modelo: H44F-10U
Aplicación: General
Material: Plástico
Temperatura media: media, ambiente
Presión: Presión media
Fuente de alimentación: Manual
Medio: Ácido
Tamaño del puerto: DN15–DN300
Estructura: Válvula de retención
Nombre del producto: Válvula de retención de oblea
Plazo de entrega: 7 días
Cantidad mínima de pedido: 1 pieza
Color: Gris
Capacidad de suministro: 10.000 piezas/mes

Clase de presión: 1,0 Mpa(10bar)

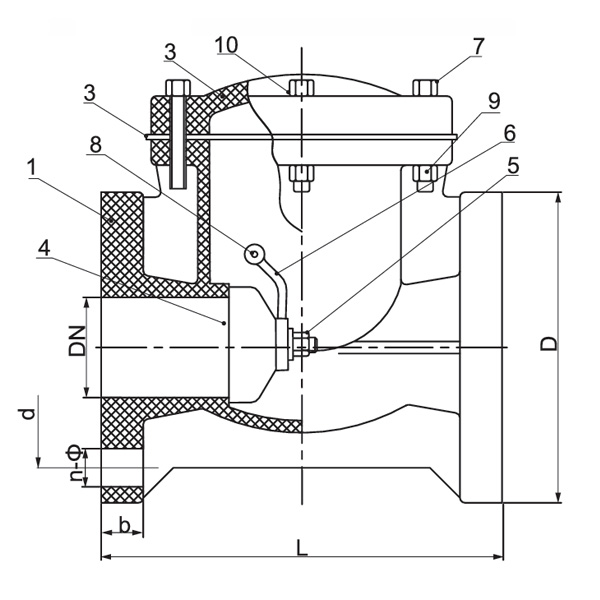
Características estructurales del producto

1.Previene el reflujo de líquidos, protegiendo bombas y otros equipos.
2.Como válvula de retención tipo voladizo, genera una resistencia mínima al fluido.
3.Fabricado con materiales totalmente plásticos, ofrece una excelente resistencia a la corrosión de fluidos ácidos, alcalinos y otros fluidos corrosivos.
4.El cuerpo de la válvula se puede quitar de la tubería y la tapa de la válvula se puede abrir para inspección interna y mantenimiento.

Lista de límites de temperatura de la aplicación

Material Temperatura media℃ Material Temperatura media℃
PVC-C -20℃~ 95℃ PVC-U -5℃~ 45℃
FRPP -20℃~ 120℃ PPH -20℃~ 110℃
PVDF 40℃~ 150℃

Tabla de materiales de piezas
No. Nombre Material Cantidad.
PVC-C PVC-U PVDF PPH FRPP
1 Cuerpo PVC-C PVC-U PVDF PPH FRPP 1
2 Bonnet PVC-C PVC-U PVDF PPH FRPP 1
3 Caucho de sellado FPM EPDM FPM EPDM 1
4 Puerta PVC-C PVC-U PVDF PPH FRPP 1
5 Tornillo de retención PVC-C PVC-U PVDF PPH FRPP 1
6 Rockero PVC-C PVC-U PVDF PPH FRPP 1
7 Tornillo Acero Acero SS Acero 6-16
8 Varilla de conexión PVC-C PVC-U PVDF PPH FRPP 1
9 Nuez Acero Acero SS Acero 6-32
10 Platina Acero Acero SS Acero 1

Lista de dimensiones

Especificación d(mm) D(mm) L(mm) b(mm) n-Φ(mm)
1/2"(15) 60 115 160 18 4-Φ16
3/4"(20) 70 115 160 18 4-Φ16
1"(25) 79 115 160 18 4-Φ16
1½"(40) 98 145 170 20 4-Φ16
2"(50) 121 160 200 21 4-Φ19
2½"(65) 140 180 240 25 4-Φ19
3"(80) 152 197 265 26 8-Φ19
4"(100) 191 215 300 26 8-Φ19
5"(125) 216 250 350 30 8-Φ22
6"(150) 241 280 400 30 8-Φ22
8"(200) 299 340 500 30 8-Φ22
10"(250) 362 390 575 38 12-Φ25

Comentarios del mensaje
Acerca de nosotros
Kaixin Pipeline Technologies Co., Ltd.
Founded in 1999, Kaixin Pipeline Technologies Co., Ltd. is a high-tech enterprise integrating R&D, manufacturing, sales, and service. As a famous China Válvula de retención de tipo oscilante PVC-U H44F-10U DN15-300 1/2"-12" Estándar ANSI Suppliers and Válvula de retención de tipo oscilante PVC-U H44F-10U DN15-300 1/2"-12" Estándar ANSI Factory, the company holds multiple prestigious certifications, including National High-Tech Enterprise, “Little Giant” Specialized and Sophisticated SME, National Single Product Champion (Cultivation), Provincial Technology-based SME, Ningbo Specialized and Sophisticated SME, Ningbo Single Product Champion (Cultivation), Ningbo Polymer Pipe & Valve Technology R&D Center, District-Level Green Factory, Ningbo Four-Star Management Innovation Enterprise, and Enterprise Data Management Capability Maturity Level 2.
Nos especializamos en el desarrollo, producción y suministro de productoos no metálicos resistentes a la corrosión para aplicaciones químicas, incluidas válvulas de plástico, tuberías, accesorios de tuberías y bombas resistentes a la corrosión. Nuestra cartera de productos abarca materiales como PVC-C, PVC-U, PVDF, PPH y FRPP, con una amplia gama de tipos y especificaciones. En particular, nuestras válvulas de mariposa pueden alcanzar DN1000 de diámetro, mientras que las tuberías y accesorios se extienden hasta DN800, abordando las brechas del mercado y manteniendo nuestra ventaja competitiva en la industria.
Guiado por el principio de “Impulsado por la tecnología, mantenerse al día con los tiempos”, Kaixin asigna casi 10 millones de RMB al año a la investigación y el desarrollo. Garantizamos una calidad superior del producto mediante una fabricación automatizada estandarizada y un abastecimiento estricto de materias primas importadas. Alineados con nuestra estrategia de desarrollo internacional, monitoreamos continuamente las tendencias del mercado global y aprovechamos los canales digitales para llevar productos de alta calidad “Hechos en China” a clientes de todo el mundo.
Ningbo • Base de investigación, desarrollo y producción de Fenghua
Con una inversión total de 200 millones de RMB, Kaixin Ultra-Pure Pipe Technology (Ningbo) Co., Ltd. ha establecido un nuevo laboratorio de materiales en colaboración con universidades e institutos de investigación, ha construido una base de fabricación moderna y ha instalado 8 líneas de producción totalmente automatizadas para plásticos modificados y 8 para materiales poliméricos. La instalación está dedicada a la investigación y el desarrollo, la producción y la aplicación de nuevos plásticos modificados y materiales poliméricos. Kaixin también se compromete a atraer a los mejores talentos en todas las disciplinas, impulsando continuamente la innovación de productos y el desarrollo de marcas, con el objetivo de convertirse en un líder reconocido mundialmente en investigación y desarrollo y fabricación de válvulas, tuberías y accesorios de polímero.
Certificado de honor
  • honor
  • honor
  • honor
  • honor
  • honor
  • honor
  • honor
  • honor
  • honor
Noticias